Quiz | Mouvement de rotation d’un solide autour d’un axe fixe
Quiz Summary
0 of 10 Questions completed
Questions:
Information
You have already completed the quiz before. Hence you can not start it again.
Quiz is loading…
You must sign in or sign up to start the quiz.
You must first complete the following:
Résultats du Quiz
Résultats du Quiz
Tu as répondu correctement à 0 questions sur 10
Ton temps :
Time has elapsed
Ta note sur ce Quiz est de 0/0, (0)
Earned Point(s): 0 of 0, (0)
0 Essay(s) Pending (Possible Point(s): 0)
| Score moyen |
|
| Ton score |
|
Categories
- Not categorized 0%
- 1
- 2
- 3
- 4
- 5
- 6
- 7
- 8
- 9
- 10
- Current
- Review
- Answered
- Correct
- Incorrect
-
Question 1 of 10
1. Question
Un petit objet assimilable à un disque homogène de masse $$m=100g$$, et de rayon $$r=5cm$$, tourne autour d’un axe passant par son centre. Le disque est préalablement lancé jusqu’à atteindre une vitesse angulaire de $$3600 tours/minute$$. On applique au disque un couple de frottement de moment constant MC, le disque s’arrête au bout de $$3$$ min. L’accélération angulaire est notée:
CorrectIncorrect -
Question 2 of 10
2. Question
Un petit objet assimilable à un disque homogène de masse $$m=100g$$, et de rayon $$r=5cm$$, tourne autour d’un axe passant par son centre. Le disque est préalablement lancé jusqu’à atteindre une vitesse angulaire de $$3600 tours/minute$$. On applique au disque un couple de frottement de moment constant MC, le disque s’arrête au bout de $$3$$ min. Trouvez la valeur de L’accélération angulaire:
CorrectIncorrect -
Question 3 of 10
3. Question
Un petit objet assimilable à un disque homogène de masse $$m=100g$$, et de rayon $$r=5cm$$, tourne autour d’un axe passant par son centre. Le disque est préalablement lancé jusqu’à atteindre une vitesse angulaire de $$3600 tours/minute$$. On applique au disque un couple de frottement de moment constant MC, le disque s’arrête au bout de $$3$$ min. Calculez la valeur du moment du couple de frottement.:
CorrectIncorrect -
Question 4 of 10
4. Question
Sur la gorge d’une poulie de masse $$100 g$$ et de rayon $$r = 6 cm$$, mobile sans frottement autour d’un axe horizontal, passe un fil de masse négligeable.Ce fil porte une masse $$M= 300 g$$ et une masse $$m= 100 g$$.La masse $$M$$ se trouve à $$4 m$$ au-dessus du sol, la masse m est au niveau du sol sans toutefois y reposer. On abandonne le système au temps $$t=0$$, Donnez l’expression de l’accélération prise par la masse M en appliquant à la poulie la relation fondamentale de la dynamique du solide en rotation
CorrectIncorrect -
Question 5 of 10
5. Question
Sur la gorge d’une poulie de masse $$100 g$$ et de rayon $$r = 6 cm$$, mobile sans frottement autour d’un axe horizontal, passe un fil de masse négligeable.Ce fil porte une masse $$M= 300 g$$ et une masse $$m= 100 g$$.La masse $$M$$ se trouve à $$4 m$$ au-dessus du sol, la masse m est au niveau du sol sans toutefois y reposer. On abandonne le système au temps $$t=0$$, Calculez la tension de premier fil pendant le mouvement
CorrectIncorrect -
Question 6 of 10
6. Question
Sur la gorge d’une poulie de masse $$100 g$$ et de rayon $$r = 6 cm$$, mobile sans frottement autour d’un axe horizontal, passe un fil de masse négligeable.Ce fil porte une masse $$M= 300 g$$ et une masse $$m= 100 g$$.La masse $$M$$ se trouve à $$4 m$$ au-dessus du sol, la masse m est au niveau du sol sans toutefois y reposer. On abandonne le système au temps $$t=0$$, Calculez la tension du deuxième fil pendant le mouvement
CorrectIncorrect -
Question 7 of 10
7. Question
Sur la gorge d’une poulie de masse $$100 g$$ et de rayon $$r = 6 cm$$, mobile sans frottement autour d’un axe horizontal, passe un fil de masse négligeable.Ce fil porte une masse $$M= 300 g$$ et une masse $$m= 100 g$$.La masse $$M$$ se trouve à $$4 m$$ au-dessus du sol, la masse m est au niveau du sol sans toutefois y reposer. On abandonne le système au temps $$t=0$$, Calculez la vitesse de M quand elle arrive au sol (indice: l’équation horaire du mouvement)
CorrectIncorrect -
Question 8 of 10
8. Question
Sur la gorge d’une poulie de masse $$100 g$$ et de rayon $$r = 6 cm$$, mobile sans frottement autour d’un axe horizontal, passe un fil de masse négligeable.Ce fil porte une masse $$M= 300 g$$ et une masse $$m= 100 g$$.La masse $$M$$ se trouve à $$4 m$$ au-dessus du sol, la masse m est au niveau du sol sans toutefois y reposer. On abandonne le système au temps $$t=0$$, Le fil supportant m étant coupé quand M arrive au sol. Donnez l’expression de la force F qu’il faut appliquer tangentiellement à la poulie pour qu’elle s’arrête au bout de 6 tours (indication: vitesse angulaire)
CorrectIncorrect -
Question 9 of 10
9. Question
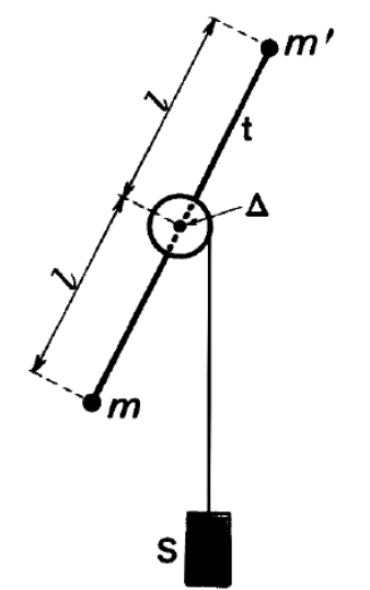
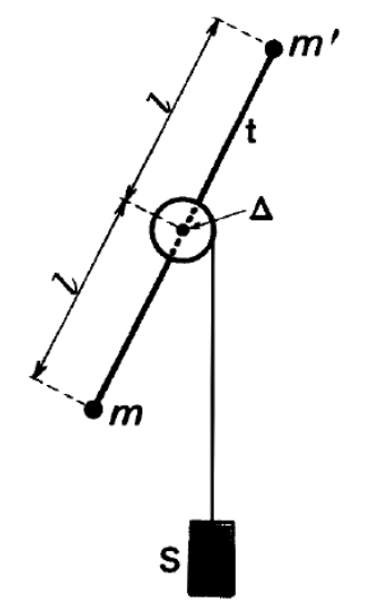
Un cylindre homogène de rayon $$r=10 cm$$ et de masse $$M=1kg$$, peut tourne autour d’un axe $$\triangle$$ de rotation passant par son centre. On donne le moment d’inertie du cylindre $$J_{\triangle}=\frac{1}{2}.M.r^{2}$$. Le cylindre est traversé suivant un diamètre, par une tige « t » de masse négligeable, portant à ses extrémités deux masses ponctuelles égales $$m’=0,5 kg$$. Les deux masses sont situées à l=50cm de l’axe de rotation. Une corde inextensible, de masse négligeable est enroulée sur le cylindre et porte un solide S de masse $$m=10kg$$. Le système est abandonné sans vitesse initiale. On néglige tous les frottements.et la corde ne glisse pas sur le cylindre. Déterminez le moment d’inertie du système {masses, tige, cylindre}, par rapport à l’axe
CorrectIncorrect -
Question 10 of 10
10. Question
Un cylindre homogène de rayon $$r=10 cm$$ et de masse $$M=1kg$$, peut tourne autour d’un axe $$\triangle$$ de rotation passant par son centre. On donne le moment d’inertie du cylindre $$J_{\triangle}=\frac{1}{2}.M.r^{2}$$. Le cylindre est traversé suivant un diamètre, par une tige « t » de masse négligeable, portant à ses extrémités deux masses ponctuelles égales $$m’=0,5 kg$$. Les deux masses sont situées à l=50cm de l’axe de rotation. Une corde inextensible, de masse négligeable est enroulée sur le cylindre et porte un solide S de masse $$m=10kg$$. Le système est abandonné sans vitesse initiale. On néglige tous les frottements.et la corde ne glisse pas sur le cylindre. Lorsque S est descendu de $$h=5m$$ ; la corde quitte le cylindre.En déduire le nombre de tours effectués par le disque à cet instant.Calculer la vitesse angulaire du cylindre à cet instant en rad/s (indication: l’accélération).
CorrectIncorrect



